简繁体
本网站已支持IPV6
智能问答(办事指南及政策问答库)
进入适老模式
无障碍阅读
首页
走进湛河
新闻动态
政府信息公开
政务互动
政务服务
政府数据
您当前所在位置:
首页
>
公开
>
行政许可/其他对外管理服务
>
行政许可结果公示
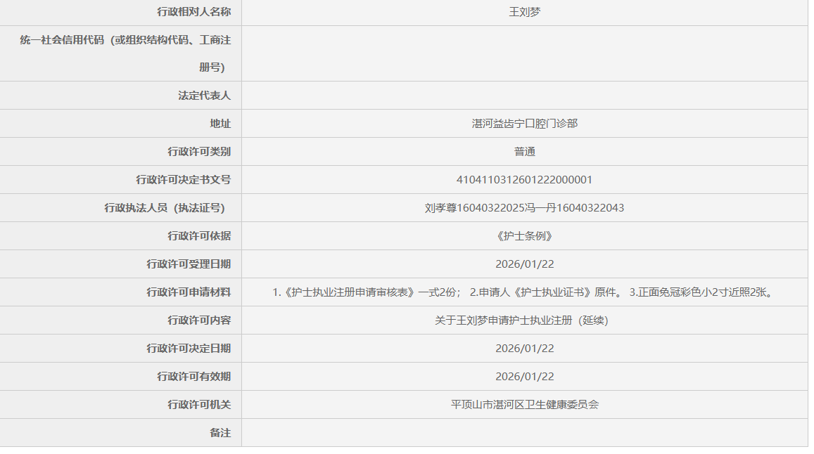
关于王刘梦申请护士执业注册(延续)
来源:湛河区人民政府->湛河区卫健委
发布时间: 2026-01-22
浏览次数:
打印页面
关闭页面
【附件下载】:
|||